МКБ-10 коды
|
|
Вступление
МКБ 10: Q33.8/ Q89.3 / J98.0.
Год утверждения (частота пересмотра): 2016 (пересмотр каждые 3 года).
ID: КР349.
Профессиональные ассоциации.
• Союз педиатров России.
Год утверждения (частота пересмотра): 2016 (пересмотр каждые 3 года).
ID: КР349.
Профессиональные ассоциации.
• Союз педиатров России.
Профессиональные ассоциации
• Союз педиатров России.
Список сокращений
БЭ - бронхоэктазы.
КТ - компьютерная томография.
ПЦД - первичная цилиарной дискинезия.
КР - клинические рекомендации.
ФВД - функция внешнего дыхания.
Эхо-КГ - эхокардиография.
КТ - компьютерная томография.
ПЦД - первичная цилиарной дискинезия.
КР - клинические рекомендации.
ФВД - функция внешнего дыхания.
Эхо-КГ - эхокардиография.
Термины и определения
Situs inversus. Полное обратное расположение внутренних органов.
Situs ambiguos (гетеротаксия). Неполное аномальное расположение внутренних органов (декстрогастрия, декстрокардия, аномально расположенная печень ).
Situs ambiguos (гетеротаксия). Неполное аномальное расположение внутренних органов (декстрогастрия, декстрокардия, аномально расположенная печень ).
Описание
Первичная цилиарная дискинезия (ПЦД) - редкое генетически детерминированное заболевание, при котором поражаются подвижные структуры клеток (реснички и жгутики). Наиболее часто проявляется рецидивирующими и хроническими инфекциями верхних и нижних дыхательных путей и в 40-50% случаев зеркальным расположением внутренних органов или гетеротаксией [1].
Синонимы: синдром Картагенера (Kartagener syndrome; Siewert syndrome; Зиверта-Картагенера), синдром неподвижных ресничек (immotile cilia syndrome), двигательная цилиопатия (the motile ciliopathy) [2].
Синонимы: синдром Картагенера (Kartagener syndrome; Siewert syndrome; Зиверта-Картагенера), синдром неподвижных ресничек (immotile cilia syndrome), двигательная цилиопатия (the motile ciliopathy) [2].
Причины
Заболевание отличается генетической гетерогенностью. Тип наследования: чаще аутосомно-рецессивный, однако описаны и более редкие Х-сцепленные формы заболевания [1,2,3].
Наиболее часто заболевание обусловлено отсутствием или дефектами строения внутренних и наружных динеиновых ручек в структуре ресничек и жгутиков. Могут обнаруживаться дефекты радиальных спиц и микротрубочек (в том числе, их транспозиция), а также есть случаи полного отсутствия ресничек. У некоторых больных имеются сочетания нескольких дефектов [1,3].
Реснички и жгутики могут иметь и нормальную ультраструктуру, однако при этом, как правило, определяется аномалия белка тяжелой цепи аксонемального динеина [1].
Нормальное ультраструктурное строение реснички (жгутика) представлено в Приложении Г, 1.
В организме человека реснички и жгутики присутствуют во многих органах и системах. Это и мерцательный эпителий респираторного тракта, и клетки Кортиева органа уха, и жгутики сперматозоидов, и реснитчатые клетки эпендимы желудочков головного мозга, фоторецепторы сетчатки глаза, клетки, выстилающие желчевыводящие пути, клетки почечных канальцев, клетки, выстилающие фаллопиевы трубы.
Кроме того, существуют реснички, расположенные на эмбриональном узле, которые обеспечивают поворот внутренних органов в периоде внутриутробного развития, вследствие чего у половины больных наблюдается обратное расположение внутренних органов.
Полная неподвижность или неадекватная активность ресничек мерцательного эпителия респираторного тракта приводит к нарушению нормальной очищающей функции дыхательной системы, секрет застаивается, а затем инфицируется. Формируются рецидивирующие респираторные инфекции, а впоследствии - хронический бронхит, хронический синусит, назальный полипоз. Из-за постоянного воспаления слуховой трубы - нередко и хронический средний отит со снижением слуха [1,2].
Неподвижность (дефектная подвижность) сперматозоидов у больных ПЦД лиц мужского пола в репродуктивном периоде часто обусловливает бесплодие. Фимбрии фаллопиевых труб у женщин также имеют аномальное строение, хотя при этом случаи женского бесплодия у больных с ПЦД единичны, однако нередко наблюдается внематочная беременность [2].
Аномальное функционирование ресничек, расположенных в других органах и системах ведет к формированию таких крайне редких проявлений как пигментная ретинопатия, билиарный цирроз печени, внутренняя гидроцефалия, поликистоз почек [2].
Наиболее часто заболевание обусловлено отсутствием или дефектами строения внутренних и наружных динеиновых ручек в структуре ресничек и жгутиков. Могут обнаруживаться дефекты радиальных спиц и микротрубочек (в том числе, их транспозиция), а также есть случаи полного отсутствия ресничек. У некоторых больных имеются сочетания нескольких дефектов [1,3].
Реснички и жгутики могут иметь и нормальную ультраструктуру, однако при этом, как правило, определяется аномалия белка тяжелой цепи аксонемального динеина [1].
Нормальное ультраструктурное строение реснички (жгутика) представлено в Приложении Г, 1.
В организме человека реснички и жгутики присутствуют во многих органах и системах. Это и мерцательный эпителий респираторного тракта, и клетки Кортиева органа уха, и жгутики сперматозоидов, и реснитчатые клетки эпендимы желудочков головного мозга, фоторецепторы сетчатки глаза, клетки, выстилающие желчевыводящие пути, клетки почечных канальцев, клетки, выстилающие фаллопиевы трубы.
Кроме того, существуют реснички, расположенные на эмбриональном узле, которые обеспечивают поворот внутренних органов в периоде внутриутробного развития, вследствие чего у половины больных наблюдается обратное расположение внутренних органов.
Полная неподвижность или неадекватная активность ресничек мерцательного эпителия респираторного тракта приводит к нарушению нормальной очищающей функции дыхательной системы, секрет застаивается, а затем инфицируется. Формируются рецидивирующие респираторные инфекции, а впоследствии - хронический бронхит, хронический синусит, назальный полипоз. Из-за постоянного воспаления слуховой трубы - нередко и хронический средний отит со снижением слуха [1,2].
Неподвижность (дефектная подвижность) сперматозоидов у больных ПЦД лиц мужского пола в репродуктивном периоде часто обусловливает бесплодие. Фимбрии фаллопиевых труб у женщин также имеют аномальное строение, хотя при этом случаи женского бесплодия у больных с ПЦД единичны, однако нередко наблюдается внематочная беременность [2].
Аномальное функционирование ресничек, расположенных в других органах и системах ведет к формированию таких крайне редких проявлений как пигментная ретинопатия, билиарный цирроз печени, внутренняя гидроцефалия, поликистоз почек [2].
Эпидемиология
Частота встречаемости от 1 на 2265 до 1 на 40000 населения [2]. Среди пациентов с бронхоэктазами -13%, среди больных с обратным расположением внутренних органов - 25% [2].
Классификация
Общепринятой классификации первичной цилиарной дискинезии не существует.
Диагностика
В настоящее время нет единого метода - «золотого» стандарта диагностики ПЦД. При установлении диагноза учитываются:
• характерная клиническая картина ( см ниже);
• результаты скрининга - исследование уровня оксида азота (NO) в выдыхаемом назальном воздухе (у большинства пациентов с ПЦД он снижен);
• анализ частоты и паттерна биения ресничек в биоптате из полости носа или бронха с помощью световой микроскопии;
• электронная микроскопия (обнаружение аномалий строения ресничек в биоптате слизистой оболочки носа или бронха).
Для подтверждения диагноза рекомендовано сочетание исследования паттерна и частоты биения ресничек с электронной микроскопией у пациентов с поражением верхних и нижних дыхательных путей в состоянии ремиссии не менее 4-6 недель.
Согласно данным зарубежных исследований, значение медианы возраста установления диагноза ПЦД в странах Западной и Восточной Европы составляет 5,3 лет, при этом при наличии situs inversus диагноз устанавливается раньше (медиана 3,5 года), чем без обратного расположения внутренних органов (5,8 лет) [4]. По нашим данным, в России медиана возраста установления диагноза ПЦД у детей с обратным расположением органов приблизительно соответствует европейской и соответствует 4 годам, тогда как диагностика ПЦД у пациентов без situs inversus производится позже (медиана возраста - 7,6 лет).
При сборе анамнеза следует обратить внимание на типичные клинические проявления ПЦД: для этих больных характерны торпидные к терапии риниты практически с рождения, инфекции нижних дыхательных путей, сопровождающиеся хроническим кашлем, нередко уже в неонатальном периоде или рецидивирующие бронхиты в раннем возрасте. Кроме того, у многих больных отмечаются рецидивирующие экссудативные отиты со снижением слуха. Сочетание хронического (рецидивирующего) синусита с хроническим (рецидивирующим) бронхитом является основанием для углубленного обследования ребенка. В семейном анамнезе иногда удается обнаружить случаи мужского бесплодия, хронических бронхитов или синуситов, аномальное расположение внутренних органов, нередки случаи ПЦД у сибсов.
Проявления ПЦД значительно варьируют в связи с выраженной генетической неоднородностью.
В антенатальном периоде можно обнаружить обратное расположение внутренних органов (situs inversus) или гетеротаксию (situs ambiguos) примерно в 40-50% случаев, реже - церебральную вентрикуломегалию по данным ультразвукового исследования. У детей с гетеротаксией отмечается неполное аномальное расположение внутренних органов (декстрогастрия, декстрокардия, аномально расположенная печень), иногда в сочетании с врожденными пороками сердца. Описаны случаи полисплении, асплении, гипоплазии поджелудочной железы, мальротации кишечника.
В периоде новорожденности: более чем у 75% доношенных новорожденных с ПЦД развивается респираторный дистресс-синдром с потребностью в кислороде от 1 дня до 1 недели. Характерны торпидные к терапии риниты практически с первого дня жизни. Редко: внутренняя гидроцефалия.
В старшем возрасте: персистирующие риниты, хронические синуситы, назальный полипоз. Хронический продуктивный кашель с гнойной или слизисто-гнойной мокротой, могут наблюдаться рецидивирующие бронхиты, пневмонии или ателектазы. У части детей обнаруживаются бронхоэктазы (БЭ). При аускультации в легких выслушивают разнокалиберные влажные хрипы, как правило, двусторонней локализации, у некоторых детей - сухие свистящие хрипы на фоне удлиненного выдоха.
Характерны также отиты с выпотом жидкости в полость среднего уха и кондуктивной тугоухостью.
В подростковом периоде: клинические проявления, описанные выше. Чаще встречаются БЭ и назальный полипоз.
При выраженной тяжести течения могут отмечаться косвенные признаки хронической гипоксии: деформация концевых фаланг пальцев по типу «барабанных пальцев» и ногтевых пластинок по типу «часовых стекол».
Комментарий: исследование проводят для идентификации микробных патогенов и определения их чувствительности к антибиотикам [3].
Комментарий. При рентгенографии органов грудной клетки находят признаки хронического бронхита, иногда - ателектазы, декстракардию (Приложение Г, 2). При компьютерной томографии органов грудной полости может выявляться пневмосклероз, почти в половине случаев - бронхоэктазы различной локализации (Приложение Г: 3,4,5,6). При лучевом исследовании придаточных пазух носа выявляется пансинусит (Приложение Г: 7), нередко - недоразвитие лобных пазух (Приложение Г: 8). В последние годы как альтернатива КТ рассматривается магнитно-резонансная томография (МРТ) органов грудной полости, особенно для мониторирования состояния легких, так как исследование не несет лучевую нагрузку. Недостатком МРТ является большая длительность проведения исследования [3].
• Рекомендовано проведение исследования функции внешнего дыхания [3].
Комментарий. Проведение спирометрии возможно у детей с 4-5 лет, в том случае, если пациент может выполнить маневр форсированного выдоха. При спирометрическом исследовании следует проводить пробу с бронхолитическим препаратом, у ряда детей с ПЦД одним из компонентов патогенеза бронхиальной обструкции может быть бронхоспазм. У детей с 6 лет возможно проведение бодиплетизмографии. При исследовании функции внешнего дыхания (ФВД): наиболее характерны обструктивные, реже - комбинированные нарушения вентиляции, у части больных параметры ФВД остаются нормальными. Обструкция у ряда пациентов носит обратимый или частично обратимый характер: проба с бронхолитиком положительна у 50%.
• Рекомендуется исследование газов крови и/или сатурации.
Комментарий. Для подтверждения/исключения гипоксемии [1].
• Рекомендуется диагностическая и/или лечебная трахеобронхоскопия.
Комментарий. Проводится для получения бронхоальвеолярного лаважа с целью идентификации микробного возбудителя, а также для проведения биопсии слизистой оболочки бронха для последующей световой фазово-контрастной и электронной микроскопии [1,2,4,5]. С целью изучения паттерна биения ресничек мерцательного эпителия также может быть исследован биоптат слизистой оболочки носа [1,2,3,4,5].
• Рекомендуется проведение эхокардиографии (Эхо-КГ) с допплеровским анализом (измерение градиента давления на легочной артерии).
Комментарий. Должна контролироваться у пациентов с ПЦД, так как при этой патологии, особенно при распространенном поражении легких, возможно развитие легочной гипертензии и формирование легочного сердца.
• Рекомендуется мониторирование состояния слуховой функции c помощью аудиологических тестов [3].
Цилиарная дисфункция может также быть причиной других состояний, таких как: поликистоз печени и/или почек, атрезия желчных путей, ретинопатия, которые могут протекать без респираторных проявлений и нередко расцениваются как самостоятельные генетические синдромы (Сениора-Лукена, Альстрёма, Бардет-Бидля).
• характерная клиническая картина ( см ниже);
• результаты скрининга - исследование уровня оксида азота (NO) в выдыхаемом назальном воздухе (у большинства пациентов с ПЦД он снижен);
• анализ частоты и паттерна биения ресничек в биоптате из полости носа или бронха с помощью световой микроскопии;
• электронная микроскопия (обнаружение аномалий строения ресничек в биоптате слизистой оболочки носа или бронха).
Для подтверждения диагноза рекомендовано сочетание исследования паттерна и частоты биения ресничек с электронной микроскопией у пациентов с поражением верхних и нижних дыхательных путей в состоянии ремиссии не менее 4-6 недель.
2,1 Жалобы и анамнез.
Ведущим проявлением болезни у детей с ПЦД являются частые воспалительные заболевания верхних и нижних дыхательных путей, которые регистрируются у достаточно большой когорты детей, особенно в раннем возрасте. Однако, осведомленность врачей о ПЦД крайне невысока, в связи с чем диагностика данной патологии в большинстве случаев несвоевременна.Согласно данным зарубежных исследований, значение медианы возраста установления диагноза ПЦД в странах Западной и Восточной Европы составляет 5,3 лет, при этом при наличии situs inversus диагноз устанавливается раньше (медиана 3,5 года), чем без обратного расположения внутренних органов (5,8 лет) [4]. По нашим данным, в России медиана возраста установления диагноза ПЦД у детей с обратным расположением органов приблизительно соответствует европейской и соответствует 4 годам, тогда как диагностика ПЦД у пациентов без situs inversus производится позже (медиана возраста - 7,6 лет).
При сборе анамнеза следует обратить внимание на типичные клинические проявления ПЦД: для этих больных характерны торпидные к терапии риниты практически с рождения, инфекции нижних дыхательных путей, сопровождающиеся хроническим кашлем, нередко уже в неонатальном периоде или рецидивирующие бронхиты в раннем возрасте. Кроме того, у многих больных отмечаются рецидивирующие экссудативные отиты со снижением слуха. Сочетание хронического (рецидивирующего) синусита с хроническим (рецидивирующим) бронхитом является основанием для углубленного обследования ребенка. В семейном анамнезе иногда удается обнаружить случаи мужского бесплодия, хронических бронхитов или синуситов, аномальное расположение внутренних органов, нередки случаи ПЦД у сибсов.
2,2 Физикальное обследование.
Общий осмотр подразумевает оценку общего физического состояния, физического развития ребенка, подсчет частоты дыхания, сердечных сокращений, осмотр верхних дыхательных путей и зева, осмотр, пальпацию и перкуссию грудной клетки, аускультацию легких, пальпацию живота.Проявления ПЦД значительно варьируют в связи с выраженной генетической неоднородностью.
В антенатальном периоде можно обнаружить обратное расположение внутренних органов (situs inversus) или гетеротаксию (situs ambiguos) примерно в 40-50% случаев, реже - церебральную вентрикуломегалию по данным ультразвукового исследования. У детей с гетеротаксией отмечается неполное аномальное расположение внутренних органов (декстрогастрия, декстрокардия, аномально расположенная печень), иногда в сочетании с врожденными пороками сердца. Описаны случаи полисплении, асплении, гипоплазии поджелудочной железы, мальротации кишечника.
В периоде новорожденности: более чем у 75% доношенных новорожденных с ПЦД развивается респираторный дистресс-синдром с потребностью в кислороде от 1 дня до 1 недели. Характерны торпидные к терапии риниты практически с первого дня жизни. Редко: внутренняя гидроцефалия.
В старшем возрасте: персистирующие риниты, хронические синуситы, назальный полипоз. Хронический продуктивный кашель с гнойной или слизисто-гнойной мокротой, могут наблюдаться рецидивирующие бронхиты, пневмонии или ателектазы. У части детей обнаруживаются бронхоэктазы (БЭ). При аускультации в легких выслушивают разнокалиберные влажные хрипы, как правило, двусторонней локализации, у некоторых детей - сухие свистящие хрипы на фоне удлиненного выдоха.
Характерны также отиты с выпотом жидкости в полость среднего уха и кондуктивной тугоухостью.
В подростковом периоде: клинические проявления, описанные выше. Чаще встречаются БЭ и назальный полипоз.
При выраженной тяжести течения могут отмечаться косвенные признаки хронической гипоксии: деформация концевых фаланг пальцев по типу «барабанных пальцев» и ногтевых пластинок по типу «часовых стекол».
2,3 Лабораторная диагностика.
• Рекомендуется проведение микробиологического исследования (посева) мокроты или трахеального аспирата в период обострения заболевания.Комментарий: исследование проводят для идентификации микробных патогенов и определения их чувствительности к антибиотикам [3].
2,4 Инструментальная диагностика.
• Для уточнения объема поражения бронхиального дерева и динамического контроля рекомендуется проведение компьютерной томографии (КТ) органов грудной полости, рентгенографии или КТ придаточных пазух носа.Комментарий. При рентгенографии органов грудной клетки находят признаки хронического бронхита, иногда - ателектазы, декстракардию (Приложение Г, 2). При компьютерной томографии органов грудной полости может выявляться пневмосклероз, почти в половине случаев - бронхоэктазы различной локализации (Приложение Г: 3,4,5,6). При лучевом исследовании придаточных пазух носа выявляется пансинусит (Приложение Г: 7), нередко - недоразвитие лобных пазух (Приложение Г: 8). В последние годы как альтернатива КТ рассматривается магнитно-резонансная томография (МРТ) органов грудной полости, особенно для мониторирования состояния легких, так как исследование не несет лучевую нагрузку. Недостатком МРТ является большая длительность проведения исследования [3].
• Рекомендовано проведение исследования функции внешнего дыхания [3].
Комментарий. Проведение спирометрии возможно у детей с 4-5 лет, в том случае, если пациент может выполнить маневр форсированного выдоха. При спирометрическом исследовании следует проводить пробу с бронхолитическим препаратом, у ряда детей с ПЦД одним из компонентов патогенеза бронхиальной обструкции может быть бронхоспазм. У детей с 6 лет возможно проведение бодиплетизмографии. При исследовании функции внешнего дыхания (ФВД): наиболее характерны обструктивные, реже - комбинированные нарушения вентиляции, у части больных параметры ФВД остаются нормальными. Обструкция у ряда пациентов носит обратимый или частично обратимый характер: проба с бронхолитиком положительна у 50%.
• Рекомендуется исследование газов крови и/или сатурации.
Комментарий. Для подтверждения/исключения гипоксемии [1].
• Рекомендуется диагностическая и/или лечебная трахеобронхоскопия.
Комментарий. Проводится для получения бронхоальвеолярного лаважа с целью идентификации микробного возбудителя, а также для проведения биопсии слизистой оболочки бронха для последующей световой фазово-контрастной и электронной микроскопии [1,2,4,5]. С целью изучения паттерна биения ресничек мерцательного эпителия также может быть исследован биоптат слизистой оболочки носа [1,2,3,4,5].
• Рекомендуется проведение эхокардиографии (Эхо-КГ) с допплеровским анализом (измерение градиента давления на легочной артерии).
Комментарий. Должна контролироваться у пациентов с ПЦД, так как при этой патологии, особенно при распространенном поражении легких, возможно развитие легочной гипертензии и формирование легочного сердца.
• Рекомендуется мониторирование состояния слуховой функции c помощью аудиологических тестов [3].
2,5 Иная диагностика.
• Генетический анализ у пациентов с ПЦД возможен, но не рекомендован как рутинный метод для установления диагноза [3].2,6 Дифференциальный диагноз.
Дифференциально-диагностический поиск включает: муковисцидоз ( см КР по оказанию медицинской помощи детям с кистозным фиброзом (муковисцидозом)), первичные иммунодефицитные состояния, врожденные аномалии строения бронхиального дерева, бронхоэктазы другого происхождения ( см КР по оказанию медицинской помощи детям с бронхоэктазами), бронхиальная астма, ряд врожденных аномалий сердечно-сосудистой системы: транспозиция магистральных сосудов.Цилиарная дисфункция может также быть причиной других состояний, таких как: поликистоз печени и/или почек, атрезия желчных путей, ретинопатия, которые могут протекать без респираторных проявлений и нередко расцениваются как самостоятельные генетические синдромы (Сениора-Лукена, Альстрёма, Бардет-Бидля).
|
|
Лечение
Подход к терапии пациента с ПЦД должен быть мультидисциплинарным в связи с полиорганностью поражений.
Основными целями терапии является максимально возможное предупреждение прогрессирования и/или развития бронхоэктазов и восстановление / сохранение нормальной легочной функции, а также носового дыхания и слуха.
• Рекомендуется промывание носовых ходов гипертоническим раствором натрия хлорида, применение назального душа.
Комментарий. Ирригационная терапия оказывает положительное влияние при назальных симптомах (заложенность носа, постоянное выделение слизи) [1,3,4,5].
• При обострении хронического бронхолегочного процесса рекомендуется назначение антибактериальных препаратов в соответствии с чувствительностью выделенной микрофлоры [3]. Антибактериальная терапия применяется также при обострениях синусита, в случае отсутствия эффекта от ирригационного лечения [3].
Комментарий. Наиболее характерными микробными патогенами при ПЦД являются Haemophilus influenzae и Streptococcus pneumoniae, реже Moraxella catarrhalis, Staphylococcus aureus. Pseudomonas aeruginosa у детей высевается редко, однако с возрастом значение этого патогена у больных с ПЦД постепенно возрастает [1,3]. Препараты в соответствии с чувствительностью выделенной микрофлоры назначают в максимально допустимых для данного возраста дозах и используют парентерально или внутрь (в зависимости от состояния пациента), также используется ступенчатый метод введения. Длительность курса лечения от 1 до 3 недель. При высеве Pseudomonas aeruginosa терапия проводится аналогично протоколам лечения больных муковисцидозом.
Противомикробная терапия проводится в соответствии с результатами микробиологического исследования. Препаратом выбора, в большинстве случаев, является амоксициллин+клавулановая кислота ж,вк, могут быть использованы цефалоспорины 2, 3 поколения.
• Рекомендуется рассмотреть назначение ингаляционной бронхоспазмолитической терапии (ипратропия бромид+фенотеролж,вк, сальбутамолж,вк, салметерол, формотеролж,вк) при наличии бронхообструктивного синдрома [3].
• Рекомендуется проведение курсового лечения пероральными муколитическими препаратами (наиболее часто используются амброксолж,вк, ацетилцистеинж,вк, карбоцистеин).
Комментарий. Есть данные об эффективности ингаляции гипертонического раствора натрия хлорида [3].
• Не рекомендовано ингаляторное применение дорназы альфаж,7н и ацетилцистеина.
Комментарий: эффективность ингаляторного применения дорназы альфа ж,7н до настоящего времени не доказана, а ацетилцистеина - низка [1,3].
Комментарий. Резекции легких в настоящее время практически не производятся. Описаны случаи пациентов с ПЦД, которым проводилась трансплантация легких, однако они касаются взрослых больных[1,2,3,4,5].
• Полипэктомию рекомендуется проводить только в случаях тяжелой назальной обструкции [3].
Комментарий. Хирургическое вмешательство при назальном полипозе оказывает лишь временный эффект, так как полипы у пациентов с ПЦД быстро рецидивируют. Терапия топическими интраназальными стероидами может быть рекомендована пациентам с сопутствующим аллергическим ринитом.
• Не рекомендуется рутинное установление тимпаностомической трубки в связи с противоречивыми данными об эффективности данного метода лечения [1,3].
• При частом обострении хронического синусита рекомендуется рассмотреть вопрос о проведении операции с целью улучшения аэрации и дренажа параназальных синусов[1,3].
Комментарии. Диета должна обеспечивать адекватное количество энергетических и питательных компонентов.
Основными целями терапии является максимально возможное предупреждение прогрессирования и/или развития бронхоэктазов и восстановление / сохранение нормальной легочной функции, а также носового дыхания и слуха.
3,1 Консервативное лечение.
• Рекомендовано использование различных методик, способствующих очистке дыхательных путей. Кинезитерапия является основным лечебно-реабилитационным мероприятием для детей с ПЦД [1,3,4,5].• Рекомендуется промывание носовых ходов гипертоническим раствором натрия хлорида, применение назального душа.
Комментарий. Ирригационная терапия оказывает положительное влияние при назальных симптомах (заложенность носа, постоянное выделение слизи) [1,3,4,5].
• При обострении хронического бронхолегочного процесса рекомендуется назначение антибактериальных препаратов в соответствии с чувствительностью выделенной микрофлоры [3]. Антибактериальная терапия применяется также при обострениях синусита, в случае отсутствия эффекта от ирригационного лечения [3].
Комментарий. Наиболее характерными микробными патогенами при ПЦД являются Haemophilus influenzae и Streptococcus pneumoniae, реже Moraxella catarrhalis, Staphylococcus aureus. Pseudomonas aeruginosa у детей высевается редко, однако с возрастом значение этого патогена у больных с ПЦД постепенно возрастает [1,3]. Препараты в соответствии с чувствительностью выделенной микрофлоры назначают в максимально допустимых для данного возраста дозах и используют парентерально или внутрь (в зависимости от состояния пациента), также используется ступенчатый метод введения. Длительность курса лечения от 1 до 3 недель. При высеве Pseudomonas aeruginosa терапия проводится аналогично протоколам лечения больных муковисцидозом.
Противомикробная терапия проводится в соответствии с результатами микробиологического исследования. Препаратом выбора, в большинстве случаев, является амоксициллин+клавулановая кислота ж,вк, могут быть использованы цефалоспорины 2, 3 поколения.
• Рекомендуется рассмотреть назначение ингаляционной бронхоспазмолитической терапии (ипратропия бромид+фенотеролж,вк, сальбутамолж,вк, салметерол, формотеролж,вк) при наличии бронхообструктивного синдрома [3].
• Рекомендуется проведение курсового лечения пероральными муколитическими препаратами (наиболее часто используются амброксолж,вк, ацетилцистеинж,вк, карбоцистеин).
Комментарий. Есть данные об эффективности ингаляции гипертонического раствора натрия хлорида [3].
• Не рекомендовано ингаляторное применение дорназы альфаж,7н и ацетилцистеина.
Комментарий: эффективность ингаляторного применения дорназы альфа ж,7н до настоящего времени не доказана, а ацетилцистеина - низка [1,3].
3,2 Хирургическое лечение.
• Оперативное лечение нижних дыхательных путей рекомендуется крайне редко.Комментарий. Резекции легких в настоящее время практически не производятся. Описаны случаи пациентов с ПЦД, которым проводилась трансплантация легких, однако они касаются взрослых больных[1,2,3,4,5].
• Полипэктомию рекомендуется проводить только в случаях тяжелой назальной обструкции [3].
Комментарий. Хирургическое вмешательство при назальном полипозе оказывает лишь временный эффект, так как полипы у пациентов с ПЦД быстро рецидивируют. Терапия топическими интраназальными стероидами может быть рекомендована пациентам с сопутствующим аллергическим ринитом.
• Не рекомендуется рутинное установление тимпаностомической трубки в связи с противоречивыми данными об эффективности данного метода лечения [1,3].
• При частом обострении хронического синусита рекомендуется рассмотреть вопрос о проведении операции с целью улучшения аэрации и дренажа параназальных синусов[1,3].
3,3 Иное лечение.
• В связи с возможным развитием гипотрофии у некоторых пациентов с ПЦД, рекомендуется индивидуальная коррекция рациона на основе оценки нутритивного статуса.Комментарии. Диета должна обеспечивать адекватное количество энергетических и питательных компонентов.
Реабилитация и амбулаторное лечение
Пациентам с ПЦД рекомендуется проведение реабилитационных мероприятий, нацеленных на поддержание легочной функции.
Профилактика
Рекомендуется генетическое консультирование родителей детей с ПЦД при планировании последующих беременностей с целью минимизации риска рождения больного ребенка.
Для улучшения общего состояния пациента следует соблюдать меры профилактики обострений, а лечебные мероприятия должны проводиться комплексно и в полном объеме, включать регулярные курсы реабилитации.
Вакцинация у пациентов с ПЦД проводится в соответствии с Национальным календарем прививок. Рекомендуется также активная иммунизация против пневмококка и гемофильной инфекции, а также ежегодная вакцинация от гриппа.
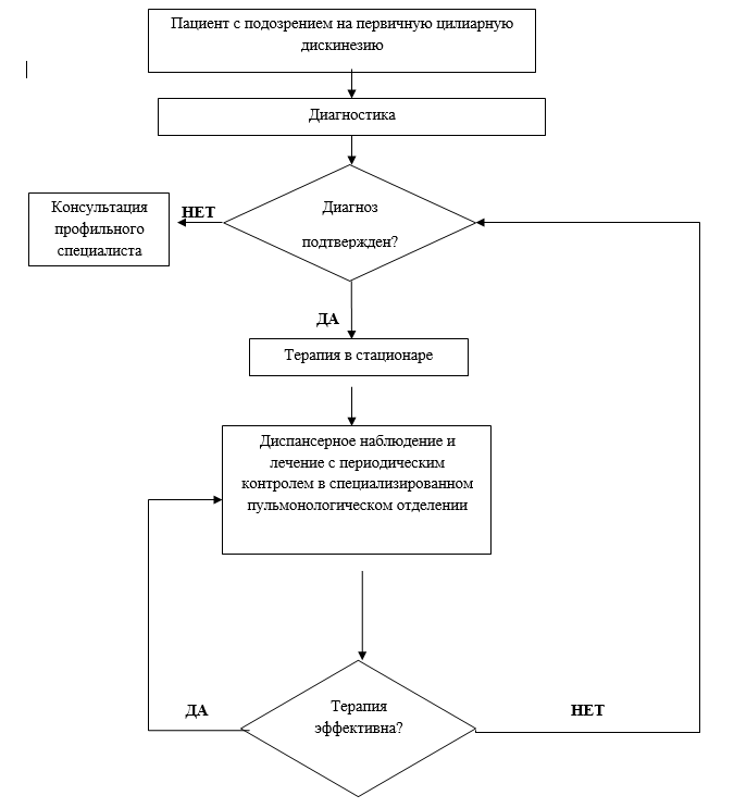
В амбулаторно-поликлинических учреждениях при подозрении на ПЦД участковые врачи-педиатры направляют больных на консультацию к врачу-пульмонологу.
Частота визитов пациента с первичной цилиарной дискинезией устанавливается индивидуально в зависимости от тяжести течения. В среднем контрольные осмотры пациентов с ПЦД должны проводиться не реже 1 раза в год (по показаниям - чаще), с ежегодным исследованием ФВД, сатурации, Эхо-КГ с допплеровским анализом и периодическим контролем КТ органов грудной полости (в среднем 1 раз в 2 года).
Для улучшения общего состояния пациента следует соблюдать меры профилактики обострений, а лечебные мероприятия должны проводиться комплексно и в полном объеме, включать регулярные курсы реабилитации.
Вакцинация у пациентов с ПЦД проводится в соответствии с Национальным календарем прививок. Рекомендуется также активная иммунизация против пневмококка и гемофильной инфекции, а также ежегодная вакцинация от гриппа.
5,2 Ведение пациентов.
Первичная диагностика и подбор терапии осуществляется в условиях специализированного пульмонологического стационара или отделения (пациенты с нетяжелым течением, особенно при катамнестическом наблюдении могут быть госпитализированы в дневной стационар), ведение пациентов совместно со специалистом оториноларингологом и, по показаниям, с сурдологом, при наличии признаков легочной гипертензии - с детским кардиологом. Срок пребывания в среднем может составить 14-21 день.В амбулаторно-поликлинических учреждениях при подозрении на ПЦД участковые врачи-педиатры направляют больных на консультацию к врачу-пульмонологу.
Частота визитов пациента с первичной цилиарной дискинезией устанавливается индивидуально в зависимости от тяжести течения. В среднем контрольные осмотры пациентов с ПЦД должны проводиться не реже 1 раза в год (по показаниям - чаще), с ежегодным исследованием ФВД, сатурации, Эхо-КГ с допплеровским анализом и периодическим контролем КТ органов грудной полости (в среднем 1 раз в 2 года).
Дополнительно
6,1 Исходы и прогноз.
Определяющими факторами являются своевременное установление диагноза и адекватная терапия.Прогноз зависит от объема и характера поражения легких и, как правило, при правильном систематическом лечении и регулярном проведении реабилитационных мероприятий относительно благоприятный.
Для взрослых пациентов мужского пола характерна сниженная фертильность вследствие недостаточности (отсутствия) подвижности сперматозоидов. Женщины могут обладать нормальной фертильностью, однако в некоторых случаях способность к деторождению снижена, при этом вероятность развития внематочной беременности более высока, по сравнению со средними значениями в популяции.
Критерии оценки качества медицинской помощи
Таблица 1. Организационно-технические условия оказания медицинской помощи.
Таблица 2 -Критерии качества оказания медицинской помощи.
| Вид медицинской помощи | специализированная, в том числе высокотехнологичная, медицинская помощь |
| Возрастная группа | дети |
| Условия оказания медицинской помощи | стационарно, в дневном стационаре |
| Форма оказания медицинской помощи | плановая |
Таблица 2 -Критерии качества оказания медицинской помощи.
| № | Критерий | Уровень достоверности доказательств и убедительности рекомендаций - низкий (консенсус экспертов) |
| Выполнена консультация врача-пульмонолога | D | |
| Выполнена компьютерная томография органов грудной полости (при установлении диагноза, далее - по показаниям) | D | |
| Выполнено исследование паттерна и частоты биения ресничек с электронной микроскопией при установлении диагноза в состоянии ремиссии не менее 4-6 недель | D | |
| Выполнено бактенриологическое исследование мокроты (индуцированной мокроты, трахеального аспирата) с определением чувствительности возбудителя к антибиотикам и другим лекарствененым препаратам (если не было проведено в течение предшествующего 1 года (минимум) - анализ взят до начала стартовой терапии антибактериальным(и) препаратами) | D | |
| Выполнено исследование функции внешнего дыхания (при отсутствии противопоказаний) | D | |
| Выполнена консультация ЛОР-врача при подозрении на назальные полипы, при тяжелом обострении хронического риносинусита | D | |
| Выполнена консультация ЛОР-врача или сурдолога при снижении слуха | D | |
| Выполнено исследование газов крови или пульсоксиметрия | D | |
| Выполнена терапия антибактериальными лекарственными препаратами (при обострении хронического воспалительного бронхолегочного процесса согласно чувствительности выявленного возбудителя или анамнестическим данным о возбудителе и его чувствительности и при отсутствии медицинских показаний) | D | |
| Выполнена терапия лекарственными препаратами из группы короткодействующих селективных бета2-адреномиметики или комбинацией лекарственных препаратов группы селективные бета2-адреномиметики и группы холинолитики или группы прологнированных селективных бета2-адреномиметиков (при наличии обратимой обструкции нижних дыхательных путей, в зависимости от медицинских показаний и при отсутствии медицинских противопоказаний) | D |
|
|
Список литературы
• Paediatric Respiratory Medicine ERS Handbook 1st Edition Editors Ernst Eber. Fabio Midulla 2013 European Respiratory Society 719P.
• J.S.A. Lucas, W.T. Walker, с.E. Kuehni, R. Lazor European Respiratory Society Monograph Orphan Lung Diseases Edited by J-F. сordier. сhapter 12. Primary ciliary dyskinesia. 2011; Vol. 54: 201-217.
• Shapiro AJ, Zariwala MA, Ferkol T, Davis SD, Sagel SD, Dell SD, Rosenfeld M, Olivier KN, Milla с, Daniel SJ, Kimple AJ1, Manion M, Knowles MR, Leigh MW; Genetic Disorders of Mucociliary сlearance сonsortium. Diagnosis, monitoring, and treatment of primary ciliary dyskinesia: PCD foundation consensus recommendations based on state of the art review. Pediatr Pulmonol. 2015 Sep 29. doi: 10,1002/ppul.23304. Epub ahead of print].
• Strippoli MP, Frischer T, вarbato A, Snijders D, Maurer E, Lucas JS, Eber E, Karadag в, Pohunek P, Zivkovic Z, Escribano A, O Callaghan с, вush A, Kuehni сE Management of primary ciliary dyskinesia in European children: recommendations and clinical practice. ERJ. 2012; 1(39) no. 6: 1482-1491.
• сlaudius Werner, Jörg Große Onnebrink, Heymut Omran Diagnosis and management of primary ciliary dyskinesia сilia. 2015; 4: 2. Published online 2015 Jan 22. doi: 10,1186/s13630-014-0011-8.
• J.S.A. Lucas, W.T. Walker, с.E. Kuehni, R. Lazor European Respiratory Society Monograph Orphan Lung Diseases Edited by J-F. сordier. сhapter 12. Primary ciliary dyskinesia. 2011; Vol. 54: 201-217.
• Shapiro AJ, Zariwala MA, Ferkol T, Davis SD, Sagel SD, Dell SD, Rosenfeld M, Olivier KN, Milla с, Daniel SJ, Kimple AJ1, Manion M, Knowles MR, Leigh MW; Genetic Disorders of Mucociliary сlearance сonsortium. Diagnosis, monitoring, and treatment of primary ciliary dyskinesia: PCD foundation consensus recommendations based on state of the art review. Pediatr Pulmonol. 2015 Sep 29. doi: 10,1002/ppul.23304. Epub ahead of print].
• Strippoli MP, Frischer T, вarbato A, Snijders D, Maurer E, Lucas JS, Eber E, Karadag в, Pohunek P, Zivkovic Z, Escribano A, O Callaghan с, вush A, Kuehni сE Management of primary ciliary dyskinesia in European children: recommendations and clinical practice. ERJ. 2012; 1(39) no. 6: 1482-1491.
• сlaudius Werner, Jörg Große Onnebrink, Heymut Omran Diagnosis and management of primary ciliary dyskinesia сilia. 2015; 4: 2. Published online 2015 Jan 22. doi: 10,1186/s13630-014-0011-8.
Приложения
Приложение А1.
Состав рабочей группы.Баранов А.А. акад. РАН, профессор, д.м.н., Председатель Исполкома Союза педиатров России;
Намазова-Баранова Л.С., чл. -корр. РАН, профессор, д.м.н., заместитель Председателя Исполкома Союза педиатров России;
Симонова О.И., д.м.н., член Союза педиатров России;
Середа Е.В., д.м.н. проф., член Союза педиатров России;
Розинова Н.Н., д.м.н., проф., член Союза педиатров России;
Цыгина Е.Н., д.м.н., член Союза педиатров России;
Катосова Л., д.б.н., член Союза педиатров России;
Вишнева Е.А., м.н., член Союза педиатров России, член Союза педиатров России;
Селимзянова Л.Р., м.н., член Союза педиатров России;
Лазарева А.В., м.н., член Союза педиатров России;
Горинова Ю.В., м.н., член Союза педиатров России;
Кустова О.В., член Союза педиатров России.
Авторы подтверждают отсутствие финансовой поддержки/конфликта интересов, который необходимо обнародовать.
Приложение А2.
Методология разработки клинических рекомендаций.Клинические рекомендации созданы на основании современных международных клинических рекомендаций по диагностике, лечению и ведению больных с первичной цилиарной дискинезией.
Первичная цилиарная дискинезия относятся к редким наследственным заболеваниям, что исключает возможность проведения больших когортных и рандомизированных контролированных исследований и для создания протоколов диагностики и терапии используются лишь тематические исследования экспертов, опубликованные в последние два десятилетия.
Целевая аудитория данных клинических рекомендаций:
• Врачи-пульмонологи.
• Врачи-педиатры.
• Врачи общей врачебной практики (семейные врачи).
• Врачи - генетики.
• Врачи - аллергологи-иммунологи.
• Врачи - эндоскописты.
• Врачи - рентгенологи.
• Врачи функциональной диагностики.
• Студенты медицинских ВУЗов.
• Обучающиеся в ординатуре и интернатуре.
Методы, используемые для сбора/селекции доказательств. Поиск в электронных базах данных.
Описание методов, использованных для оценки качества и силы доказательств. Доказательной базой для рекомендаций являются публикации, вошедшие в Кохрейновскую библиотеку, базы данных EMBASE, MEDLINE и PubMed. Глубина поиска - 8 лет.
Методы, использованные для оценки качества и силы доказательств:
• консенсус экспертов;
• оценка значимости в соответствии с рейтинговой схемой.
Методы, использованные для анализа доказательств:
• обзоры опубликованных мета-анализов;
• систематические обзоры с таблицами доказательств.
Описание методов, использованных для анализа доказательств.
При отборе публикаций, как потенциальных источников доказательств, использованная в каждом исследовании методология изучается для того, чтобы убедиться в ее валидности. Результат изучения влияет на уровень доказательств, присваиваемый публикации, что в свою очередь, влияет на силу рекомендаций.
Для минимизации потенциальных ошибок каждое исследование оценивалось независимо. Любые различия в оценках обсуждались всей группой авторов в полном составе. При невозможности достижения консенсуса привлекался независимый эксперт.
Методы, использованные для формулирования рекомендаций. Консенсус экспертов.
Индикаторы доброкачественной практики ( Good Practice Points. GPPs ).
Рекомендуемая доброкачественная практика базируется на клиническом опыте авторов разработанных рекомендаций.
Экономический анализ.
Анализ стоимости не проводился и публикации по фармакоэкономике не анализировались.
Метод валидации рекомендаций.
• Внешняя экспертная оценка.
• Внутренняя экспертная оценка.
Описание метода валидации рекомендаций.
Настоящие рекомендации в предварительной версии были рецензированы независимыми экспертами, которых, прежде всего, попросили прокомментировать, насколько доступна для понимания интерпретация доказательств, лежащая в основе рекомендаций.
От врачей первичного звена (пульмонологов) получены комментарии в отношении доходчивости изложения данных рекомендаций, а также их оценка важности предлагаемых рекомендаций, как инструмента повседневной практики.
Все комментарии, полученные от экспертов, тщательно систематизировались и обсуждались членами рабочей группы (авторами рекомендаций). Каждый пункт обсуждался в отдельности.
Консультация и экспертная оценка.
Проект рекомендаций был рецензирован независимыми экспертами, которых, прежде всего, попросили прокомментировать доходчивость и точность интерпретации доказательной базы, лежащей в основе рекомендаций.
Рабочая группа.
Для окончательной редакции и контроля качества рекомендации были повторно проанализированы членами рабочей группы, которые пришли к заключению, что все замечания и комментарии экспертов приняты во внимание, риск систематических ошибок при разработке рекомендаций сведен к минимуму.
Актуализация данных клинических рекомендаций будет проводиться не реже, чем один раз в три года. Принятие решения об обновлении будет принято на основании предложений, представленных медицинскими профессиональными некоммерческими организациями с учётом результатов комплексной оценки лекарственных препаратов, медицинских изделий, а также результатов клинической апробации.
Приложение А3.
Связанные документы.Порядки оказания медицинской помощи:
• Приказ Министерства здравоохранения и социального развития РФ от 16 апреля 2012 г. N 366н Об утверждении Порядка оказания педиатрической помощи ).
• Приказ Министерства здравоохранения РФ Об утверждении Порядка оказания медицинской помощи больным с врожденными и (или) наследственными заболеваниями от 15 ноября 2012 г. N 917н).
КР337. Болевой синдром (БС) у детей, нуждающихся в паллиативной медицинской помощи.
Приложение В.
Информация для пациентов.Первичная цилиарная дискинезия - генетически обусловленное хроническое заболевание. Основой болезни служит нарушение нормального функционирования ресничек, находящихся в различных органах и тканях человека.
Наиболее часто поражаются верхние и нижние дыхательные пути. Для детей с первичной цилиарной дискинезией характерны хронический насморк (ринит, синусит), трудно поддающийся лечению, также часто отмечается кашель с выделением мокроты, нередко у такого ребенка выслушиваются влажные и/или сухие хрипы в легких.
Большинство пациентов с первичной цилиарной дискинезией имеют хороший прогноз по продолжительности жизни и социализации. Адекватное своевременное и регулярное лечение, а также реабилитация способствуют улучшению прогноза и качества жизни.
Диагностика и лечение пациентов с первичной цилиарной дискинезией проводится врачом пульмонологом.
Исключительно важным является ежедневное проведение мероприятий, способствующих очистке верхних и нижних дыхательных путей. Этим техникам и методикам обучает врач в специализированном пульмонологическом отделении (центре).
Первичная цилиарная дискинезия - не противопоказание для проведения плановой вакцинации. Более того, детей с этим заболеванием следует привить от пневмококковой, гемофильной инфекции, а также рекомендуется ежегодная вакцинация от гриппа.
Приложение Г.
1 Ультраструктура реснички (жгутика), поперечный разрез.2. Рентгенограмма грудной клетки: бронхитические изменения, декстракардия (снимок при описании перевернут на «правильную» сторону).
3. Компьютерная томография легких: полное обратное расположение внутренних органов, пневмосклероз 4 и 5 сегментов левого лёгкого, признаки хронического бронхита (тот же ребенок).
4. Пневмосклероз и цилиндрические бронхоэктазы при ПЦД (обычное расположение внутренних органов).
5. Пневмосклероз и бронхоэктазы при ПЦД (синдром Картагенера).
6. Пневмосклероз и смешанные, ателектатические бронхоэктазы (синдром Картагенера).
7. Пансинусит у пациента с ПЦД.
8. Пансинусит и неразвитые фронтальные пазухи у пациента с ПЦД.
Приложение Г2 Расшифровка примечаний.
…ж - лекарственный препарат, входящий в Перечень жизненно необходимых и важнейших лекарственных препаратов для медицинского применения на 2016 год (Распоряжение Правительства РФ от 26,12,2015 N 2724-р).…вк - лекарственный препарат, входящий в Перечень лекарственных препаратов для медицинского применения, в том числе лекарственных препаратов для медицинского применения, назначаемых по решению врачебных комиссий медицинских организаций (Распоряжение Правительства РФ от 26,12,2015 N 2724-р).
…7н - лекарственный препарат, входящий в перечень екарственных препаратов, предназначенных для обеспечения лиц, больных гемофилией, муковисцидозом, гипофизарным нанизмом, болезнью гоше, злокачественными новообразованиями лимфоидной, кроветворной и родственных им тканей, рассеянным склерозом, лиц после трансплантации органов и (или) тканей (Распоряжение Правительства РФ от 26,12,2015 N 2724-р).
|
|
Год актуализации информации
2016.